г. Москва
Подшипники SNR в Москве
Корзина
0 ₽

Однорядный цилиндрический роликоподшипник SNR NUP.207.E.G15

Однорядный цилиндрический роликоподшипник SNR NUP.207.E.G15
Однорядный цилиндрический роликоподшипник SNR NUP.207.E.G15
Однорядный цилиндрический роликоподшипник SNR NUP.207.E.G15
(0)
Нет в наличии
0 руб.
До конца акции осталось:
00дн.
00час.
00мин.
Подарок при покупке
Дарим подарок при покупке данного товара
Выбрать подарок
Однорядный цилиндрический роликоподшипник SNR NUP.207.E.G15
Однорядный цилиндрический роликоподшипник SNR NUP.207.E.G15
(0)
Нет в наличии
0 руб.


Однорядный роликовый подшипник, фиксированный, разъемный, сепаратор из полиамида

Однорядные цилиндрические  оликоподшипники выдерживают значительные радиальные нагрузки. Стандартные серии ISO (NU, N, NJ, NF, NUP, NH, RNU, HJ) доступны с различными типами сепараторов, диаметрами отверстия и фиксирующими кольцами.

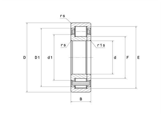
РАЗМЕРЫ ИЗДЕЛИЯ
МаркаSNR
d - Внутренний диаметр35 mm
D - Наружный диаметр72 mm
B - Ширина подшипника/внутреннего кольца17 mm
E - Диаметр описанной окружности роликов64 mm
F - Диаметр вписанной окружности роликов44 mm
d1 - Наружный диаметр буртика внутреннего кольца48 mm
D1 - Внутренний диаметр буртика наружного кольца61 mm
rs - Минимальный радиус галтели1,1 mm
r1s - Минимальный радиус галтели0,6 mm
Класс радиального зазораCN
Вес0,317 kg
ПРОИЗВОДИТЕЛЬНОСТЬ ПРОДУКТА
C - Динамическая грузоподъёмность49,1 kN
C0 - Статическая грузоподъёмность48,7 kN
Cu - Предельная усталостная нагрузка5,9 kN
N ref - Базовая частота вращения8300 tr/min
N lim - Предельная частота вращения12000 tr/min
N lim - Предельная скорость при смазывании маслом9800 tr/min
N lim - Предельная скорость при смазывании консистентной смазкой8100 tr/min
Tmin - Мин. рабочая температура-20 °C
Tmax - Макс. рабочая температура120 °C
ЧАСТОТЫ ПОДШИПНИКОВ
BPFO - Частота вращения по внешнему кольцу (60 об/мин)5,704 Hz
BPFI - Частота вращения внутреннему кольцу (60 об/мин)8,296 Hz
BSF - Частота вращения тела качения (60 об/мин)5,215 Hz
BRF - Частота прохождения контакта тела качения (60 об/мин)2,608 Hz
FTF - Частота вращения сепаратора (60 об/мин)0,407 Hz
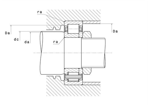
РАЗМЕРЫ ОКРУЖАЮЩИХ ДЕТАЛЕЙ
da min - Минимальный диаметр буртика вала41,5 mm
dc min - Мин. диаметр буртика корпуса50 mm
Da max - Максимальный диаметр буртика корпуса65,5 mm
ra max - Максимальный радиус галтели1 mm
r1a - Максимальный радиус галтели0,6 mm
Нет информации о наличии товара

Мы стараемся максимально лояльно подходить к выбору способов доставки товаров из нашего магазина, чтобы наши клиенты получали необходимое качество по наименьшей цене.

Курьером по городу

Курьером (пн-пт). Курьер доставит товар в день заказа с 18 до 21.00 (при условии, что заказ сформирован до 18.00), либо вечером следующего дня (если заказ сформирован после 18.00).

Самовывозом

Вы можете забрать заказанный на сайте товар в любой день и удобное Вам время. Часы работы и контактный телефон магазина можно узнать здесь. Забронированный товар будет дожидаться Вас в течении двух рабочих дней.

Персональные рекомендации