г. Москва
Подшипники SNR в Москве
Корзина
0 ₽

Однорядный цилиндрический роликоподшипник SNR NJ.308.E.G15

Однорядный цилиндрический роликоподшипник SNR NJ.308.E.G15
Однорядный цилиндрический роликоподшипник SNR NJ.308.E.G15
Однорядный цилиндрический роликоподшипник SNR NJ.308.E.G15
(0)
Нет в наличии
0 руб.
До конца акции осталось:
00дн.
00час.
00мин.
Подарок при покупке
Дарим подарок при покупке данного товара
Выбрать подарок
Однорядный цилиндрический роликоподшипник SNR NJ.308.E.G15
Однорядный цилиндрический роликоподшипник SNR NJ.308.E.G15
(0)
Нет в наличии
0 руб.


Однорядный роликовый подшипник, для односторонних осевых нагрузок, сепаратор из полиамида

Однорядные цилиндрические  оликоподшипники выдерживают значительные радиальные нагрузки. Стандартные серии ISO (NU, N, NJ, NF, NUP, NH, RNU, HJ) доступны с различными типами сепараторов, диаметрами отверстия и фиксирующими кольцами.

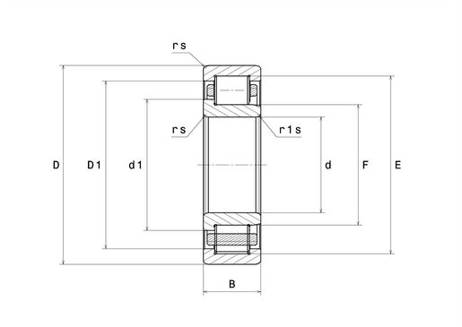
РАЗМЕРЫ ИЗДЕЛИЯ
МаркаSNR
d - Внутренний диаметр40 mm
D - Наружный диаметр90 mm
B - Ширина подшипника/внутреннего кольца23 mm
E - Диаметр описанной окружности роликов80 mm
F - Диаметр вписанной окружности роликов52 mm
d1 - Наружный диаметр буртика внутреннего кольца57,5 mm
D1 - Внутренний диаметр буртика наружного кольца75,9 mm
rs - Минимальный радиус галтели1,5 mm
r1s - Минимальный радиус галтели1,5 mm
Класс радиального зазораCN
Вес0,674 kg
ПРОИЗВОДИТЕЛЬНОСТЬ ПРОДУКТА
C - Динамическая грузоподъёмность80,3 kN
C0 - Статическая грузоподъёмность78 kN
Cu - Предельная усталостная нагрузка9,5 kN
N ref - Базовая частота вращения7000 tr/min
N lim - Предельная частота вращения9500 tr/min
N lim - Предельная скорость при смазывании маслом7600 tr/min
N lim - Предельная скорость при смазывании консистентной смазкой6400 tr/min
Tmin - Мин. рабочая температура-20 °C
Tmax - Макс. рабочая температура120 °C
ЧАСТОТЫ ПОДШИПНИКОВ
BPFO - Частота вращения по внешнему кольцу (60 об/мин)4,727 Hz
BPFI - Частота вращения внутреннему кольцу (60 об/мин)7,273 Hz
BSF - Частота вращения тела качения (60 об/мин)4,502 Hz
BRF - Частота прохождения контакта тела качения (60 об/мин)2,251 Hz
FTF - Частота вращения сепаратора (60 об/мин)0,394 Hz
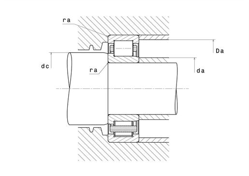
РАЗМЕРЫ ОКРУЖАЮЩИХ ДЕТАЛЕЙ
da min - Минимальный диаметр буртика вала48 mm
da max - Максимальный диаметр уступа малого торца51 mm
db min - Минимальный диаметр проставочной втулки внутреннего кольца55 mm
dc min - Мин. диаметр буртика корпуса60 mm
Da max - Максимальный диаметр буртика корпуса82 mm
ra max - Максимальный радиус галтели1,5 mm
r1a - Максимальный радиус галтели1,5 mm
Нет информации о наличии товара

Мы стараемся максимально лояльно подходить к выбору способов доставки товаров из нашего магазина, чтобы наши клиенты получали необходимое качество по наименьшей цене.

Курьером по городу

Курьером (пн-пт). Курьер доставит товар в день заказа с 18 до 21.00 (при условии, что заказ сформирован до 18.00), либо вечером следующего дня (если заказ сформирован после 18.00).

Самовывозом

Вы можете забрать заказанный на сайте товар в любой день и удобное Вам время. Часы работы и контактный телефон магазина можно узнать здесь. Забронированный товар будет дожидаться Вас в течении двух рабочих дней.

Персональные рекомендации